精彩内容
近期,中成药溶液剂市场波澜再起,四川好医生攀西药业的1类新药美蠊复新液获批临床。米内网数据显示,2024年中国零售药店终端中成药溶液剂超过200亿元销售规模,同比增长4.25%。从TOP20来看,城市实体药店5个10亿大品种领跑,扬子江、济川、云南白药上榜;网上药店1亿元梯队再添生力军,儿科中成药暴涨167%。
200亿市场火热!亚宝、汉森获保护,好医生、康恩贝1类新药来袭
近年中国零售药店终端中成药溶液剂销售情况(单位:亿元)
来源:米内网格局数据库
米内网数据显示,中成药溶液剂在近年中国零售药店终端(城市实体药店+网上药店)市场规模持续扩容,2022年突破200亿元大关,2023年-2024年分别同比增长14.16%、4.25%。其中,城市实体药店是主力销售渠道,网上药店则持续快速增长。
从治疗大类来看,呼吸系统疾病用药、补气补血类用药、消化系统疾病用药是畅销大类,合计市场份额占比超过70%。从在销品种数量来看,产品超过1000个,近3000个品牌。
今年以来国家药监局发布的中药保护品种公告
今年以来,国家药监局共发布19个中药保护品种公告/受理公示,4个中成药溶液剂在列,其中,亚宝药业四川制药的儿童清咽解热口服液获批首家中药二级保护品种,湖南汉森制药的四磨汤口服液获批延长保护期继续给予二级保护。
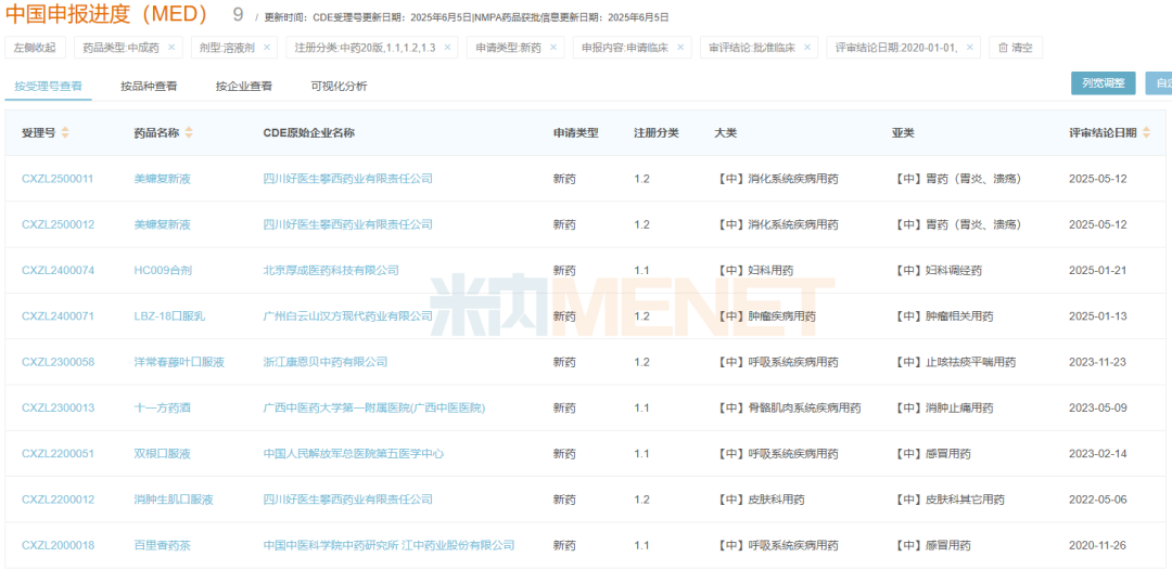
近年获批临床的中成药溶液剂1类新药
来源:米内网中国申报进度(MED)数据库
2020年至今,中成药溶液剂新药有3个产品获批上市,健民药业集团的小儿紫贝宣肺糖浆、卓和药业集团的九味止咳口服液为1类新药,济川药业集团的小儿豉翘清热糖浆为2.2类中药改良型新药。14个新药获批临床,其中,四川好医生攀西药业的美蠊复新液和消肿生肌口服液、广州白云山汉方现代药业的LBZ-18口服乳、浙江康恩贝中药的洋常春藤叶口服液等8个为1类新药。
实体药店:5个10亿大品种领跑,扬子江、济川、云南白药上榜
2024年中国城市实体药店中成药溶液剂TOP10集团
来源:米内网中国城市实体药店药品终端竞争格局
从TOP20集团来看,国药集团、华润医药、扬子江药业、真奥药业集团、济川药业位居前五,真奥药业集团(+49.97%)、云南白药(+16.80%)、广药集团(+14.82%)、好医生药业集团(+14.60%)、浙江省健康产业集团(+11.14%)、先声药业(+25.82%)均有双位数增速。
2024年中国城市实体药店中成药溶液剂产品TOP20(单位:亿元)
来源:米内网中国城市实体药店药品终端竞争格局
注:销售额不足5亿元以*表示
产品TOP20中,呼吸系统疾病用药最多,有10个,补气补血类用药有5个,消化系统疾病用药有3个,神经系统疾病用药和肿瘤疾病用药各有1个。藿香正气口服液、复方阿胶浆、急支糖浆位居前三,气血康口服液重返前十之列,通关藤口服液(消癌平口服液)是新上榜产品,强力枇杷露是在销企业数最多的产品,有76家,其次是藿香正气水,有67家。
8个独家产品上榜,包括复方阿胶浆(东阿阿胶)、急支糖浆(太极集团)、蓝芩口服液(扬子江江苏龙凤堂中药)、蒲地蓝消炎口服液(济川药业集团)等,其中,金银花口服液(真奥金银花药业)排名上升最快,上升了5个位次。
品牌TOP20中,太极集团重庆涪陵制药的藿香正气口服液和急支糖浆、东阿阿胶的复方阿胶浆、扬子江江苏龙凤堂中药的蓝芩口服液等5个超10亿品牌领跑,济川药业集团的蒲地蓝消炎口服液和扬子江江苏龙凤堂中药的黄芪精销售额均超过5亿元。
正增长品牌中,东阿阿胶的复方阿胶浆、山西正来制药的潞党参口服液、真奥金银花药业的金银花口服液均有双位数增速,华润三九(雅安)药业的强力枇杷露是新上榜品牌。
近年中国城市实体药店气血康口服液销售情况(单位:万元)
来源:米内网中国城市实体药店药品终端竞争格局
气血康口服液是OTC甲类品种,有健脾固本、滋阴润燥、生津止咳功效,用于神倦乏力、气短心悸、阴虚津少、口干舌燥。该产品在2024年中国城市实体药店销售额超过5亿元,同比增长10.73%,云南白药文山七花的市场份额最大。据了解,云南白药文山七花的气血康口服液获得云南省制造业单项冠军称号。云南白药表示,市场营销方面,气血康包装焕新升级,紧抓秋冬滋补的重要营销节点,推动气血康口服液销售快速增长;学术临床方面,公司全力布局上市品种二次创新开发,其中,气血康口服液改善心脏和血管健康及对高原反应的预防与治疗方面的临床研究均取得稳步进展,为产品打开更广阔应用场景。
近年中国城市实体药店通关藤口服液(消癌平口服液)销售情况(单位:万元)
来源:米内网中国城市实体药店药品终端竞争格局
通关藤口服液(消癌平口服液)是国家医保乙类品种,有抗癌、消炎、平喘功效,用于胃癌、肺癌、肝癌,对恶性淋巴癌、大肠癌等恶性肿瘤亦有疗效。该产品在近年中国城市实体药店快速增长,2023年销售额超过2亿元,2024年同比增长近36%。4家在销企业中,杨凌科森生物制药的市场份额最大,湖北凤凰白云山药业、河南中杰药业、河南新四方制药3家翻倍,分别同比增长220.84%、285.89%、3780.25%。
网上药店:1亿元梯队再添生力军,儿科中成药暴涨167%
2024年中国网上药店中成药溶液剂TOP10集团
来源:米内网中国网上药店药品终端竞争格局
从TOP20集团来看,华润医药、国药集团、扬子江药业、敖东药业、北京同仁堂位居前五,哈尔滨康隆药业增速翻倍,同比增长达113.14%,葵花药业、甘肃普安制药、广药集团均超过50%。
2024年中国网上药店中成药溶液剂产品TOP20(单位:亿元)
来源:米内网中国网上药店药品终端竞争格局
注:销售额不足1亿元以*表示
产品TOP20中,6个销售额超过1亿元,复方阿胶浆继续领跑,黄芪精挺进前三,强力枇杷露是新晋1亿元梯队。四君子合剂、楂曲平胃合剂是新上榜产品,小儿咳喘灵口服液、气血康口服液和双黄连口服液则重返TOP20之列。
从增速来看,小儿咳喘灵口服液(+167.54%)、气血康口服液(+153.90%)、四君子合剂(+516.30%)、楂曲平胃合剂(+105.68%)均翻倍,小儿咳喘灵口服液是唯一一个上榜的儿科用药。10个双位数增速产品中,蓝芩口服液、强力枇杷露、藿香正气合剂、宣肺止嗽合剂、双黄连口服液均超过50%。
6个独家产品上榜,分别是复方阿胶浆(东阿阿胶)、蒲地蓝消炎口服液(济川药业集团)、楂曲平胃合剂(太极集团重庆桐君阁药厂)、蓝芩口服液(扬子江江苏龙凤堂中药)、宣肺止嗽合剂(甘肃普安制药)、四季抗病毒合剂(陕西海天制药)。
品牌TOP20中,东阿阿胶的复方阿胶浆、太极集团重庆涪陵制药的藿香正气口服液、扬子江江苏龙凤堂中药的黄芪精、敖东延边药业的安神补脑液销售额均超过1亿元。
14个正增长品牌中,太极集团重庆桐君阁药厂的四君子合剂最快,同比增长538.52%,哈尔滨康隆药业的小儿咳喘灵口服液、云南白药文山七花的气血康口服液、太极集团重庆桐君阁药厂的楂曲平胃合剂均增速翻倍。
近年中国网上药店黄芪精销售情况(单位:万元)
来源:米内网中国网上药店药品终端竞争格局
黄芪精用于气虚血亏,表虚自汗,四肢乏力,精神不足或久病衰弱,脾胃不壮。该产品在近年中国网上药店销售规模快速扩容,2022年-2024年分别同比增长78.22%、169.02%、35.56%,排名从第10位跃升至第3位,扬子江江苏龙凤堂中药的市场份额最大。
近年中国网上药店小儿咳喘灵口服液销售情况(单位:万元)
来源:米内网中国网上药店药品终端竞争格局
小儿咳喘灵口服液功能主治为宣肺、清热,止咳、祛痰,用于上呼吸道感染引起的咳嗽。该产品在2024年中国网上药店销售规模超过6000万元,同比增长167.54%,哈尔滨康隆药业的市场份额最大。
资料来源:米内网数据库、国家药监局官网等
注:米内网《中国城市实体药店药品终端竞争格局》,统计范围是:全国地级及以上城市实体药店,不含县乡村药店;《中国网上药店药品终端竞争格局》,统计范围是:全国网上药店所有药品数据,包括天猫、京东等第三方平台及私域平台上所有网上药店药品数据;上述销售额以产品在终端的平均零售价计算。如有疏漏,欢迎指正!
免责声明:本文仅作医药信息传播分享,并不构成投资或决策建议。
本文为原创稿件,转载文章或引用数据请注明来源和作者,否则将追究侵权责任。
投稿及报料请发邮件到872470254@qq.com
稿件要求详询米内微信首页菜单栏
商务及内容合作可联系QQ:412539092
