近日,国家药监局官网显示,江苏康缘药业申报的中药新药温阳解毒颗粒(曾用名:扶正解毒颗粒)获批上市,用于疫病辨证属阳气虚衰,疫毒侵肺者。米内网数据显示,2023年中国三大终端六大市场(统计范围详见本文末)呼吸系统中成药销售额超过860亿元。
温阳解毒颗粒为中药3.2类新药,属于其他来源于古代经典名方的中药复方制剂,主要用于疫病辨证属阳气虚衰,疫毒侵肺者。此前,公司已有一款中药3.2类新药获批上市,为散寒化湿颗粒,用于寒湿郁肺所致疫病。
除了江苏康缘药业的温阳解毒颗粒及散寒化湿颗粒,目前国内已获批用于疫病的古代经典名方复方制剂还有中国中医科学院中医临床基础医学研究所的清肺排毒颗粒(感受寒湿疫毒所致疫病)、山东步长制药的宣肺败毒颗粒(湿毒郁肺所致疫病)、广东一方制药的化湿败毒颗粒(湿毒侵肺所致疫病)。
米内网数据显示,近年来呼吸系统中成药市场重回增长轨道,在中国三大终端六大市场(统计范围见文末)的销售额逐年上涨,2023年超过860亿元,同比增长7.13%。
近年来中国三大终端六大市场呼吸系统中成药销售情况(单位:亿元)
来源:米内网格局数据库
从细分终端上看,零售药店终端(城市实体药店+网上药店)为呼吸系统中成药销售“主战场”,占据约46%的市场份额;公立医院终端(城市公立医院+县级公立医院)以约35%的占比紧接在后。
2023年中国零售药店终端呼吸系统中成药TOP10品牌中,华润三九医药的感冒灵颗粒、京都念慈菴总厂的京都念慈菴蜜炼川贝枇杷膏、石家庄以岭药业的连花清瘟胶囊依次位列前三,销售额分别超过25亿元、19亿元、12亿元。从销售额增速看,太极集团重庆涪陵制药的急支糖浆、扬子江北京海燕药业苏黄止咳胶囊、丽彩甘肃西峰制药的补肺丸分别涨超64%、53%、32%。
2023年中国零售药店终端呼吸系统中成药TOP10品牌
注:标红为销售额增速超过30%
来源:米内网综合数据库
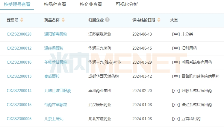
米内网数据显示,2024年以来,国家药监局共批准了7款中药新药上市,其中有5款新药在一季度密集获批上市。7款新药涵盖呼吸系统、神经系统、骨骼肌肉系统、妇科、五官科等治疗领域。
2024年以来获批上市的中药新药
来源:米内网中国申报进度(MED)数据库
3款为中药1.1类创新药,包括湖北齐进药业的儿茶上清丸、卓和药业的九味止咳口服液、成都华西天然药物的秦威颗粒;4款为中药3.1/3.2类新药(即古代经典名方中药复方制剂),包括江苏康缘药业的温阳解毒颗粒、武汉康乐药业的芍药甘草颗粒、华润三九的苓桂术甘颗粒和温经汤颗粒。
资料来源:米内网数据库、国家药监局官网等
注:米内网《中国三大终端六大市场药品竞争格局》,统计范围是:城市公立医院和县级公立医院、城市社区中心和乡镇卫生院、城市实体药店和网上药店,不含民营医院、私人诊所、村卫生室,不含县乡村药店;上述销售额以产品在终端的平均零售价计算。数据统计截至8月22日,如有疏漏,欢迎指正!
